Amada Press Brake Tooling
Whether the Amada top tools or Amada Bottom tools, both feature standard safety grooves to prevent tools from dropping. FBM is capable of meeting your needs. The following are the common types of Amada press brake tools. If you don’t find what you are looking for, please feel free to contact us.
Advantages
●According to our rich experience in press brake tooling production, the following two kinds of optimum materials are recommended to satisfy your high-quality requirements. Other required materials can also be customized to fit your specific needs.
● 42CrMo, tempered to 1100 - 1200 N / mm2
● C45, tempered to 800 - 850 N / mm2
●The hardness of the bending radius and intake radius can achieve 45-50RC.
●The Amada press brake tooling features high universality. After the length or bend angle is being adjusted or working together with the adapters, the press brake tooling is compatible with the widest variety of press brakes machines.
Standard Tang
All punches :
are standardized with a 8.4 x 3.5 mm safety groove, which keeps the tool from falling out.
depending on the clamping system: horizontal or vertical, tool exchange is possible

Indications of precision ground surfaces:
Modifications from Safety Grooves
A1
Pneumatic clamping |
A6
Bystronic-Beyeler Euro
Safan |
A8
hydraulic clamping
Gasparini |
 |
 |
 |
ST
Amada_promecan
Durma
China |
A42
Bystronic-Beyeler
Safan |
OT
for Amada fast
clamping system |
 |
 |
 |
Tool lengths and sectioning
Standard
Segmented tools are delivered in complete sets.
More lengths and sectionings are possible upon request.
TOP-System
Lengths without sectioning: 525 mm
Lengths with sectioning:
■495 mm segmented (8 segments)

■500 mm segmented (3 segments)
Standard System
Lengths without sectioning: 835 mm,415 mm, 900 mm
Lengths with sectioning:
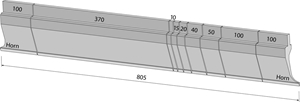
■805 mm segmented (9 segments)

■795 mm segmented (11 segments)

■800 mm segmented (9 segments)
Horn Types:
| Standard for all segm. Punches |
Individual produced according to your
specications |
 |
 |